The list includes patents in the financial technology industry, including patents related to securities, business transactions, financial instruments, financial and transactional security and cryptography.
#1 US Patent No. US 11,270,276 (State Farm)
Title: SYSTEMS AND METHODS FOR BLOCKCHAIN-BASED PAYMENTS
Inventor/Assignee: STATE FARM MUTUAL AUTOMOBILE INSURANCE COMPANY
Abstract: Methods and systems for processing a blockchain comprising a plurality of immutable insurance policy payment records corresponding to insurance policies are provided. According to certain aspects, a transaction request indicating a policy payment for an insurance policy may be received at a first node. A block including an insurance policy payment record indicating the policy payment may be added to a blockchain and transmitted to another node for validation. The first node may add the block to a copy of the blockchain, where the block may be identified by a hash value that references a previous block in the blockchain that includes at least one additional insurance policy payment record.

#2 US Patent No. US 11,263,639 (Mastercard)
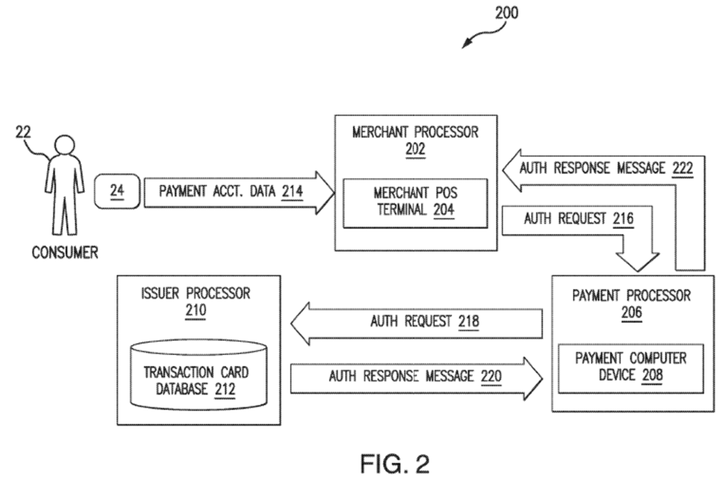
Title: SECURE AND SAFE METHOD TO DISABLING PAYMENT FUNCTIONALITY ON LOST OR STOLEN TRANSACTION CARDS
Inventor/Assignee: Mastercard International Incorporated
Abstract: The disclosure includes systems and methods for disabling a payment function of a transaction card. The system receives payment account data from a transaction card and transmits a payment authorization request message to a card issuer associated with the transaction card. The system receives, from the card issuer, an authorization request response message. The authorization request response message declines the transaction and includes a status response code corresponding to a status of the transaction card. The system determines whether the status response code indicates that the transaction card is to be captured, and if so, disables the payment function of the transaction card via activation of a disabling system.

#3 US Patent No. US 11,263,644 (Actimize Ltd.)
Title: SYSTEMS AND METHODS FOR DETECTING UNAUTHORIZED OR SUSPICIOUS FINANCIAL ACTIVITY
Inventor/Assignee: Actimize Ltd.
Abstract: In a method for detecting unauthorized or suspicious financial activity, a graph convolutional network for financial crime prevention, a separate node is created for each entity: each account, each person, each address (e.g. email address), etc. Separate attributes are provided to aggregate transactions in which the node acts as a sender; transactions in which the node acts as a receiver; transactions using a specific channel (e.g. ATM); and transactions of a specific type (e.g. online money transfer). In some embodiments, the attributes exclude data on individual transactions to reduce the amount of data and hence provide more effective computer utilization. The approach is suitable for many applications, including anti-money laundering. Other features are also provided, as well as systems for such detection.

#4 US Patent No. US 11,263,692 (Capital One)
Title: CONTROLLING A SPENDING ACCOUNT BASED ON USER SPENDING HABITS
Inventor/Assignee: Capital One Services, LLC
Abstract: Aspects described herein may allow for receiving authorization allowing monitoring a user’s spending account. A base-line spending profile and a dysfunctional spending profile for the user are established. When notification of a pending purchase transaction is received, a determination is made as to whether the pending purchase transaction is in accordance with the base-line spending profile of the user. If the pending purchase transaction is in accordance with the base-line spending profile of the user, the pending purchase transaction is allowed, however, if the pending purchase transaction is not in accordance with the base-line spending profile of the user, then a temporary secondary approval may be instituted for a predetermined period of time and a secondary approval person is electronically notified that their approval is required before allowing the pending purchase transaction to be made using the spending account of the user.

#5 US Patent No. US 11,265,162 (Alipay)
Title: SYSTEM AND METHOD FOR PROVIDING PRIVACY AND SECURITY PROTECTION IN BLOCKCHAIN-BASED PRIVATE TRANSACTIONS
Inventor/Assignee: ALIPAY (HANGZHOU) INFORMATION TECHNOLOGY CO., LTD
Abstract: Methods, systems, and apparatus, including computer programs encoded on computer storage media, for implementing blockchain-based private transactions are provided. One of the methods includes transmitting, at a first blockchain node of a number (N) of blockchain nodes that are involved in a private transaction, the private transaction to each of a plurality of second blockchain nodes of the N blockchain nodes, wherein N is at least four, at least (N-F) signatures certifying the private transaction respectively from at least (N-F) blockchain nodes of the first and second blockchain nodes, wherein Fis a largest integer no more than (N-1)/2; and submitting, at the first blockchain node, a hash value of the private transaction in association with the at least (N‑F) signatures to one or more blockchain nodes of a public blockchain for adding into the public blockchain.

#6 US Patent No. US 11,270,274 (Wells Fargo)
Title: MOBILE WALLET USING MATH BASED CURRENCY SYSTEMS AND METHODS
Inventor/Assignee: Wells Fargo Bank, N.A.
Abstract: A mobile wallet computer system may send a token to a customer computing device to share the token with a recipient computer system in exchange for payment for a service or a good. The mobile wallet computer system may receive, the token, a recipient public key associated with a MBC account of the recipient, and a transaction amount. The mobile wallet computer system determines whether the recipient public key is registered with the mobile wallet computer system. The mobile wallet computer system updates a ledger that lists a MBC balance of the MBC account of the recipient and the ledger that lists the MBC balance of the customer or transmits, to MBC processing nodes, a request to transfer the amount of MBC in a pooled MBC account of a financial institution to the MBC account of the recipient.

#7 US Patent No. US 11,270,300 (Worldpay)
Title: DECENTRALIZED COMPUTER SYSTEMS AND METHODS FOR EFFICIENT TRANSACTION DISPUTE MANAGEMENT USING BLOCKCHAIN
Inventor/Assignee: Worldpay, LLC
Abstract: Decentralized computer systems and methods are disclosed for efficient transaction dispute management using blockchain. One method includes: receiving transaction information of a transaction, wherein the transaction information includes (1) an identifier of an issuer of a payment source account, (2) an identifier of an acquirer of a payment account of a merchant, and (3) the amount of resources to be applied in the transaction; generating a blockchain entry that stores the received transaction information in a shared ledger to participants of the blockchain; receiving in the shared ledger, from a participant, (1) an indication of a dispute of the transaction information, and (2) a proposed change to the transaction information; prompting the participants of the blockchain to respond to the indication of the dispute; if one of the participants denies the proposed change, executing a dispute settlement process to determine a revised transaction information.

#8 US Patent No. US 11,270,311 (Worldpay)
Title: SYSTEMS AND METHODS FOR A CONTEXT-DRIVEN ELECTRONIC TRANSACTIONS FRAUD DETECTION
Inventor/Assignee: Worldpay, LLC
Abstract: Systems and methods are disclosed for establishing a multidimensional fraud detection system and payment analysis. One method includes: receiving transaction history of a user, the transaction history including a first payment vehicle and a second payment vehicle; determining, of the received transaction history, one or more instances of switching from one the first payment vehicle to the second payment vehicle; and determining a user-specific abandonment score for the user, based on the determined instances of switching from the first payment vehicle to the second payment vehicle.

#9 US Patent No. US 11,270,376 (Vantagescore)
Title: METHOD AND SYSTEM FOR ENHANCING MODELING FOR CREDIT RISK SCORES
Inventor/Assignee: Vantagescore Solutions, LLC
Abstract: The system and method of the present invention expand/enhance modeling for credit risks scores. The expanded modeling system and methods discussed herein identify new credit risk related attributes using limited and/or unconventional credit data. In an aspect, the system and method enhance performance definitions to capture incremental insight, expanding the applicable consumer segments previously inaccessible.

#10 US Patent No. US 11,270,377 (Chicago Mercantile Exchange)
Title: COMPRESSION OF AN EXCHANGE TRADED DERIVATIVE PORTFOLIO
Inventor/Assignee: Chicago Mercantile Exchange Inc.
Abstract: An illustrative computing device may include a processor and a non-transitory memory device for storing a data structure capable of being compressed, where the data structure includes a plurality of data elements and each of the plurality of data elements includes a date field and a quantity field. The computing device may process instructions to arrange the plurality of data elements in a consecutive series in date order based on a value stored in the date field of each data element, determine whether a gap appears in the consecutive series of data elements based on a value stored in the quantity field of each element, remove the determined gaps in each of the data elements, and repeat the determining and removing steps until a predetermined criterion has been reached.

Have Questions About Patenting Your Software?
Click here to schedule a free consultation with one of our experienced software patent attorneys or download our free PDF — Patents for SaaS: The Must-Have Guide.


