These patents include SaaS and similar technologies, such as Platform-as-a-Service, Data-as-a-Service, Blockchain-as-a-Service. The list might also include technologies that assist, work with, or improve SaaS and similar technologies, such as business intelligence, data mining, cloud computing, and cloud services.
#1 US Patent No. US 11,269,596 (IBM)
Title: AUTOMATED MICROSERVICE CREATION BASED ON USER INTERACTION
Inventor/Assignee: International Business Machines Corporation (IBM)
Abstract: A microservice and the recipe for that microservice are automatically created by modifying a local environment in an integrated development environment executing on a computing system to construct a desired microservice, recording commands entered while modifying the local environment, computing a list of changes from the recorded commands that change the local environment and compiling the list of changes into a recipe comprising commands and dependencies sufficient to assemble an operating system and software files that are sufficient to instantiate the desired microservice.

# 2 US Patent No. US 11,269,625 (IBM)
Title: METHOD AND SYSTEM TO IDENTIFY AND PRIORITIZE RE-FACTORING TO IMPROVE MICRO-SERVICE IDENTIFICATION
Inventor/Assignee: International Business Machines Corporation (IBM)
Abstract: A computer system, computer program product, and computer-implemented method to identify one or more refactoring operations directed at micro-service identification for source code. A genetic algorithm is leveraged to produce an offspring population of re-factoring operations from a parent set. The offspring population is subject to an assessment utilizing one or more objective measures. Responsive to the assessment, one or more identified re-factoring operations are selectively applied to the source code to produce one or more corresponding micro-service candidates.

#3 US Patent No. US 11,269,734 (Commvault Systems, Inc.)
Title: DATA STORAGE MANAGEMENT SYSTEM FOR MULTI-CLOUD PROTECTION, RECOVERY, AND MIGRATION OF DATABASES-AS-A-SERVICE AND/OR SERVERLESS DATABASE MANAGEMENT SYSTEMS
Inventor/Assignee: Commvault Systems, Inc.
Abstract: A streamlined approach enables customers to retain management control over their data in a database-as-a-service (“DBaaS”) setting, by providing managed backup copies outside cloud service providers’ sphere of control. An illustrative data storage management system provides control over performing backup operations to generate managed backup copies, storing managed backup copies, recovering managed backup copies in whole or in part, migrating managed backup copies, and migrating DBaaS instances. Management control also extends to choices of where to store the managed backup copies, whether on the same cloud computing platform as the source DBaaS, on a different cloud computing platform, and/or in a non-cloud data center.

#4 US Patent No. US 11,269,912 (SAP SE)
Title: PARALLEL LOAD OPERATIONS FOR ETL WITH UNIFIED POST-PROCESSING
Inventor/Assignee: SAP SE
Abstract: A computer implemented system and method of performing parallel load operations during an extract, transform, load (ETL) operation. The system generates a single transaction having multiple processes, where each process loads into one target table. The processes are executed in parallel, and the system performs verification on the single transaction.

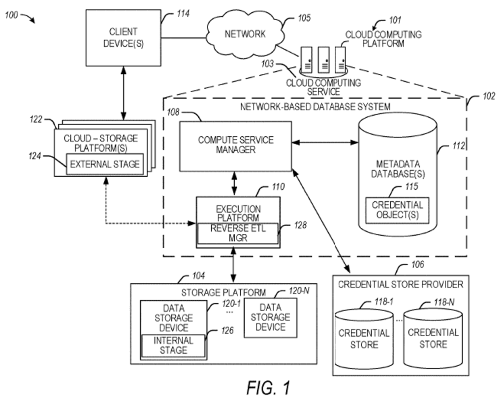
#5 US Patent No. US 11,269,913 (Snowflake Inc.)
Title: REVERSE EXTRACT, TRANSFORM, LOAD (ETL) TOOL
Inventor/Assignee: Snowflake Inc.
Abstract: Provided herein are systems and methods for an application connector (also referred to as a reverse extract, transform, load (ETL) connector) in a database system. For example, a method includes retrieving an application connector corresponding to an application of a plurality of available applications. The application connector includes connector configuration information and connector code. A user-defined query is detected within the connector configuration information. The user-defined query is executed to obtain a query result. The query result is based on data stored in a storage device shared by the plurality of applications. The connector code of the application connector is executed to perform an update of the application, the update based on the query result.

#6 US Patent No. US 11,270,018 (IBM)
Title: SYSTEM AND METHOD FOR PROVIDING DATA SECURITY IN A HOSTED SERVICE SYSTEM
Inventor/Assignee: International Business Machines Corporation (IBM)
Abstract: Aspects of the present disclosure are directed to methods and systems for protecting sensitive data in a hosted service system. The system includes a host system having a database management system (DBMS) with a database and a query pre-parser. A processing application is configured to process a request from a tenant system and route the processed request as a query to the query pre-parser. The query pre-parser is configured to decrypt a sensitive data part of the query, generate a modified query including the decrypted sensitive data part, generate a database query using the modified query, and transmit the database query to the database.

#7 US Patent No. US 11,271,746 (Otis Elevator Company)
Title: COMPONENT COMMISSIONING TO IOT HUB USING PERMISSIONED BLOCKCHAIN
Inventor/Assignee: Otis Elevator Company
Abstract: A method and apparatus for commissioning a device to an Internet of Things (IoT) Hub using a permissioned blockchain. The method includes preparing a device to be commissioned by providing the device with meta-information and a set of cryptographic keys, initializing the device to facilitate communication with a permissioned blockchain by a trusted user, storing at least a portion of the metainformation in the permissioned blockchain, and receiving and storing by the device, a hash key from the permissioned blockchain, the hash key based on the storing. The method also includes connecting to the device via a service tool to obtain the hash key and verifying the hash key with the permissioned block chain. If the verifying is successful, communicating device information to a cloud service, the cloud service in communication with the IoT Hub to enable the commissioning.

#8 US Patent No. US 11,271,810 (Getac Technology Corp)
Title: HETEROGENEOUS CROSS-CLOUD SERVICE INTEROPERABILITY
Inventor/Assignee: Getac Technology Corporation and WHP Workflow Solutions, Inc.
Abstract: This disclosure describes techniques for improving CSB platforms (or CSB applications) that manages cloud services for different clients and different environments. In one example, the CSB platforms may be interconnected and configured to act as a proxy for the cloud services. The interconnected CSB platforms may perform spontaneous updating of stored service instance addresses when a service instance is tracked to trigger a strong consistency in the interconnected CSB platforms. Alternatively, the interconnected CSB platforms may perform delayed updating of stored service instance addresses when a service instance is tracked to trigger a weak consistency in the interconnected CSB platforms. Regulation of a frequency and scope of updating may improve the use of power resources in the CSB platforms.

#9 US Patent No. US 11,271,826 (IBM)
Title: PRIORITIZATION OF SERVICE RESTORATION IN MICROSERVICES ARCHITECTURE
Inventor/Assignee: International Business Machines Corporation (IBM)
Abstract: Information is gathered on microservice interactions. Two or more microservice failures are detected. For each microservices failure, a microservice restoration time is determined. An expected total cost of a downtime for each microservice is determined. Based on the determined expected total cost of the downtime for each micro service, an order of microservices to restore is determined.

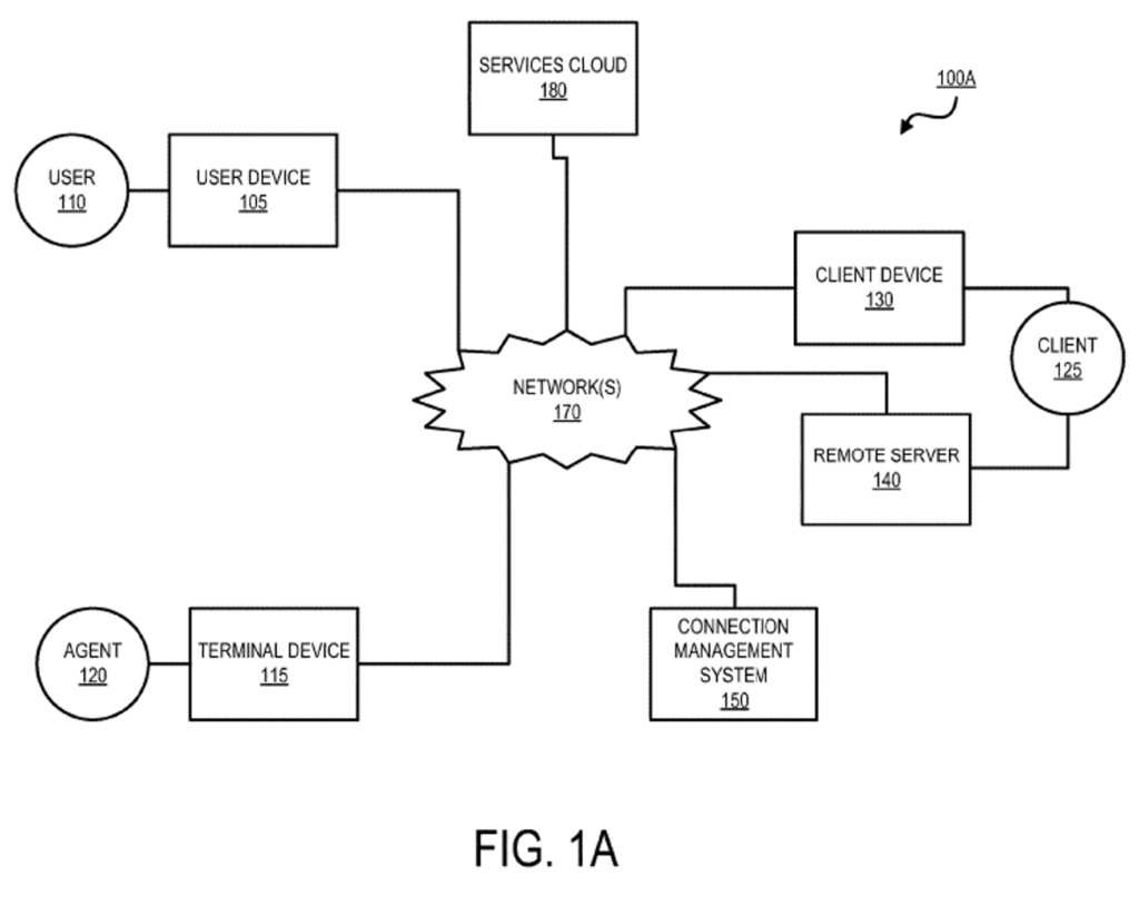
#10 US Patent No. US 11,272,015 (Liveperson, Inc.)
Title: FUNCTION-AS-A-SERVICE FOR TWO-WAY COMMUNICATION SYSTEMS
Inventor/Assignee: Liveperson, Inc.
Abstract: The present disclosure relates generally to systems and methods for facilitating two-way communication sessions using serverless cloud-based functions configured in a function-as-a-service (FaaS) system. One example includes accessing a template configured to execute a response based on an event, facilitating a two-way communication session with a user device, and processing data of the two-way communication session to identify an event trigger corresponding to the template. Execution of a serverless cloud based function associated with the event trigger is requested, and one or more outputs of the serverless cloud-based function associated with the event trigger are integrated into the two-way communication session.



